Fort du succès de sa Switch, Nintendo dépose maintenant un brevet permettant de suivre les mouvements d’un objet d’un appareil à un autre. Appliqué à la Switch ou toute autre console, un tel système permet d’envisager une nouvelle gamme de jeux collectifs.
Nintendo : côté innovation, la firme japonaise ne se relâchera pas
Chez Nintendo, on continue de savourer le succès de la Switch, petite console polyvalente dont les ventes vont bon train. Mais Nintendo ne compte visiblement pas s’endormir sur cette victoire, et entreprend déjà l’avenir.
A l’occasion de la cérémonie des BAFTA Game Awards, Super Mario Odyssey et the Legend of Zelda (Breath of the Wild) ont respectivement remporté les titres de Meilleur game design et Meilleur jeu familial pour le premier, et Meilleure innovation pour le second.
Alors que l’encre ayant servi à rédiger ces titres n’était pas encore sèche, le CEO Shinya Takahashi promettait déjà d’autres innovations, notamment côté hardware, pour continuer à surprendre les gamers.
Un brevet qui pourrait déboucher sur des jeux utilisant les consoles bord-à-bord
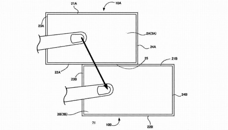
Chose promise, chose due ! Et Nintendo vient précisément de déposer un brevet en rapport avec une technologie assurant le déplacement d’un objet d’un appareil à un autre. Révélé par le bureau américain des brevets et marques déposées, le document officiel concernant ce brevet fait état d’un « Système de jeu pourvu d’une pluralité d’appareils de traitement d’information capables de communiquer ».
Appliqué à des consoles de jeux, on ne peut qu’imaginer qu’un tel système permettrait de faire passer un objet en mouvement de l’écran d’une console vers une autre, avec toutes les perspectives que cela offre en terme de développement de jeux collectifs.
Notons qu’en 2013, Google s’était déjà engagé sur cette voie avec Racer A Chrome Experience, une course où les joueurs évoluaient sur un circuit réparti sur l’écran de plusieurs appareils. L’avenir nous dira si Nintendo exploite d’avantage ce système, exploitant pour la première fois l’inclinaison des appareils et leur positionnement bord à bord.
Voici 3 croquis du brevet de Nintendo



Dernière mise à jour le 20 août 2018